編輯:北京凌鷹起重 瀏覽:9357 時間:2014-10-13
圖1是本實用新型的立體示意圖。
圖2是本實用新型的側視圖。
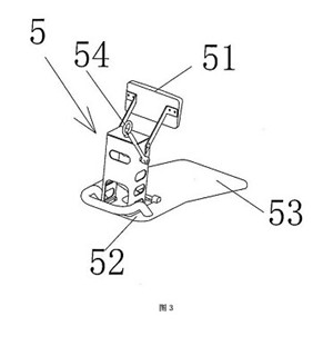
圖3是本實用新型的吊具的立體示意圖。
請參閱圖1和圖2所示,本實施例是由長方體架體1、導軌支架2、導軌3、手動葫蘆4和吊具5構成,長方體架體1的四個底角安裝有腳輪6,長方體架體1上具有滑軌11,長方體架體1的一個側邊向上延伸導軌支架2,導軌支架2的頂端向長方體架體1的方向延伸有導軌掛架21,導軌3設置在導軌掛架21的底部,導軌3從導軌掛架21上延伸出一段,手動葫蘆4滑動設置在導軌3上,手動葫蘆4的吊鉤掛有吊具5;如圖3所示,吊具5是由靠背托51、底座52、插板53和吊環54構成,靠背托51設置在底座52上并朝向一側,插板53設置在底座52上并向靠背托51的方向延伸,底座52上具有吊環54,使用時,將吊具5放置在汽車座椅A上,插板53向后插入在座椅靠背與椅座之間的縫隙中,靠背托51靠在椅背上。
本實施例的使用過程:
將本實施例推到工位處,導軌3的延伸出的一段,位于汽車座椅A的上方,然后將吊具5安裝在汽車座椅A上,手動葫蘆4鉤掛吊具5吊起汽車座椅A,再拉動汽車座椅A沿導軌3移動到長方體架體1的滑軌11上排列擺放。完畢后,將載有汽車座椅A的本實施例移動到目的地。上一條: 一種吊索具安全立體存放架
下一條: 低凈空式鋼絲繩電動葫蘆

