編輯:北京凌鷹起重 瀏覽:12144 時間:2014-09-23
在前面的文章中介紹過關于鋼絲繩電動葫蘆工作原理的第一點起升機構,然后本文繼續(xù)介紹剩余的幾點。
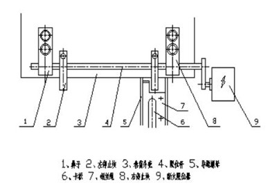
2、運行機構
CD1、MD1型電動葫蘆運行機構采用ZDY1。型錐形轉子電動機驅動,經(jīng)過兩級齒輪減速,驅使主動車輪運行。參見圖9。圖9、CD1、MD10.5~20噸電動葫蘆運行機構 機構原理示意圖



公司地址:北京市昌平區(qū)東小口
聯(lián)系電話:400-0126-008 傳真:010-65800835
郵箱:beijinglingying@126.com
郵編:102200 網(wǎng)站地圖
